医疗污水处理器设备品质可靠
一、医疗污水处理器设备品质可靠:
医疗污水处理器设备通过厌、好氧菌分解有机物达到降解去除医院综合污水中有机污染物质与有害、有毒物质排放标准,出水再经过深度处理彻底消毒处理,达到《医疗机构水污染物排放标准》(GB18466-2005)一级排放标准,达到消灭病菌、细菌、保障人体健康,消除有机污染物所引起的污染隐患的目的。

二、医疗污水处理器设备设计原则:
1、严格执行国家现行的环保技术标准、规范,遵守国家和地方环保的有关法律、法规及排放标准;
2、选用先进、合理、可靠的处理工艺,在确保处理排放达标的前提下,做到操作简单、管理方便、占地小、投资省、运行费用低;
3、本工程系环境工程,尤其要注意环境保护,避免和减少二次污染。要求改善劳动卫生条件,贯彻安全生产和清洁文明生产的方针;
4、为了提高污水处理站管理水平,设计采用PLC全自动程序控制,减轻操作人员的劳动强度;
5、合理选用优质配件,降低能耗,提高工作效益和使用寿命,降低系统运行成本;
6、地埋式污水处理设备,有较大的灵活性,可调性,适应水量、水质的周期变化。
7、因地制宜,合理布局,有效地利用空间和场地。

三、医疗污水处理器设备工艺说明:
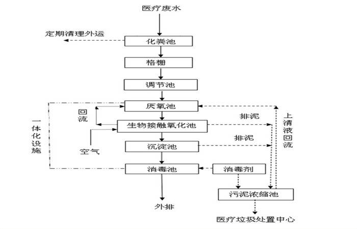
医疗污水首先进入格栅井,格栅的作用主要是拦截污水中的漂浮物及颗粒物,减轻后续设备的处理负荷和保护水泵正常工作。从格栅出来的水有提升泵提升到调节池,调节池的作用是调节水质和水量,使不同时间、不同水质的水充分混合,保证进入到后续设备的水质与水量均匀一致,还可以降低一定的负荷,使整套处理设备耐受短时间较高的负荷冲击。
为防止SS在调节池沉淀,在调节池中安装几根曝气软管,起搅拌作用,同时调节池具有水解、酸化池的功能,可将部分大分子有机污染物降解为小分子污染物,去除部分有机污染物。调节池出来的水自流至一体化医疗废水处理设备的水解酸化池,将不易分解的大分子有机物厌氧消化为易分解的小分子有机物,后废水进入接触氧化池,在曝气池中设置填料,将其作为生物膜的载体。
待处理的废水经充氧后以一定流速流经填料,与生物膜接触,生物膜与悬浮的活性污泥共同作用,达到净化废水的作用。生物处理后的废水自流入沉淀池,沉淀后上清液自流入消毒池,经过二氧化氯消毒后达标排放。


四、医疗污水处理器设备主要工艺介绍:
1、调节池:经预处理后的合流污水经格栅去除大颗粒漂浮物后自流到调节池,在调节池中均化水质水量,自行调节温度、浓度、pH值等,然后通过泵提升至厌氧池;
2、厌氧池: 有机物分别被聚磷菌和反硝化细菌利用后浓度已很低,有利于自养的硝化菌的生长繁殖。主要作用是除氮。
3、接触氧化池:接触氧化池是一种以生物膜为主,兼有活性污泥的生化处理装置。污水中的大部分有机物在此得到降解和净化,好氧菌以填料为载体,利用污水中的有机物为营养,将污水中的有机物分解成无机盐类,从而达到净化的目的。好氧菌的生存,必须有足够的氧气,即污水中有足够的溶解氧,以达到生化处理的目的。好氧池的处理效果好坏取决于填料与曝气器,本设备采用目前国内先进的填料与曝气器。
4、二沉池:污水经好氧池处理后自流进入二沉池,在二沉池中进行泥水分离,上清液经溢流堰溢流进入消毒池。沉淀污泥经泵回流至缺氧池或提升至污泥浓缩池,污泥浓缩消毒后吸粪车外运,滤液回流至调节池。
5、消毒池:对污水进行消毒,杀灭病菌,达标后排放。
6、污泥浓缩池:二沉池排除的剩余污泥排入污泥浓缩池,浓缩后的污泥外运,滤液回调节池。

五、医疗污水处理器设备特点:
1、抗冲击负荷的能力强,接触氧化法的平均停留时间在6小时以上。
2、具有脱氮除磷能力,并可以通过调节设备的构造,达到处理工业废水,生活污水,城市污水的能力。
3、接触氧化池内的填料多为组合软填料,质轻、高强、物理化学性质稳定,比表面积大,生物膜附着能力强,污水与生物膜的接触效率高。
4、接触氧化池内采用曝气器进行鼓风曝气,使纤维束不断漂动,曝气均匀,微生物生长成熟,具有活性污
泥法的特征。
5、出水水质稳定,污泥产量少并易于处理。


返回首页
电话
产品中心