小型医疗污水处理机械
一、小型医疗污水处理机械:
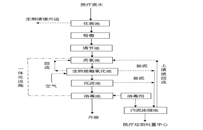
医院污水处理机械一般埋设于地表之下,运用二次生物接触氧化处理工艺,它处理的效果超越全混合生物氧化池,对水质的适应性强度高,保证了水处理的稳定性。该设备在池中采用了新型弹性立体填料,对污水中的有机物质具有去除的功能。该设备通过氧化处理之后,产生的污泥量较少,仅需90天排放一次即可。为了避免放生病菌滋生、传播的现象发生,须对水质进行深度消毒处理。目前应用多的消毒工艺有:紫外线消毒、二氧化氯消毒、臭氧消毒。需根据污水水质特点及排放量进行选择。

二、小型医疗污水处理机械原理:
1、是指将污水处理设施中的主体构筑物埋在地下或半地下的污水处理技术。其主要有占地面积小、噪音低、无异味、受气候影响小、管理方便、处理效率高等特点。
2、具有脱氮除磷能力,并可以通过调节设备的构造,达到处理工业废水,生活污水,城市污水的能力。
3、一种利用污水生物菌来处理污水的设备,是一种以生物膜为净化主体的污水生物处理系统,充分发挥了厌氧生物滤池、接触氧化床等生物膜反应器具有的生物密度大、耐污能力强、动力消耗低、操作运行稳定、维护方便的特点。
4、后续链接二氧化氯发生器,可以将医院污水中的有毒物质消除。

三、小型医疗污水处理设备选用的MBR工作过程:
膜系统的采用将活性污泥系统中的泥水直接分离,较传统工艺节省了沉淀系统和深度过滤系统,并且节省用地、出水水质高,可以达到回用水标准,而且加药量减少了70%。但是这种工艺也存在初投资较高、运行电耗比传统工艺稍高等的缺点。MBR工艺出水浊度小,适合采用紫外线消毒。由于出水水质好,加药量小,使用方便,不影响环境。

四、小型医疗污水处理机械特点:
1、设备可埋入地下,噪音小,占地小中,充氧效率高,对周围环境无影响。
2、全自动控制,无需人员管理。 ·工艺新,效果好,寿命长,维护管理方便。
3、污染物去除范围大,可同时脱氮,除磷和去除有机物。
4、水调节池、接触氧化池、二沉池、消毒池及好氧污泥消化池控制系统。
5、剩余污泥产量小,处理效率高。
6、投资少,运行费用低。


返回首页
电话
产品中心